设为首页
|
添加收藏
|
联系我们
网站首页
公司简介
行业新闻
产品展示
荣誉证书
客户反馈
在线招聘
联系我们
包装印刷类
纸箱
纸盒
纸托盘
重型整体组合包装
彩包
EPE防静电缓冲垫(珍珠棉)
水蜜桃礼盒
精品礼盒包装
大闸蟹礼盒
纸护角
不干胶、表格、彩印
口罩外箱 口罩盒
洋兰包装箱
纸轮 纸盘
鲜果包装盒
合作伙伴
生产车间
地址:无锡市新区硕放香楠路81号
电话:0510-85367819
手机:丁雪峰 13013650017
传真:0510-85367831
网址:www.zhongfuda.com
E-mail:zhongfuda@126.com
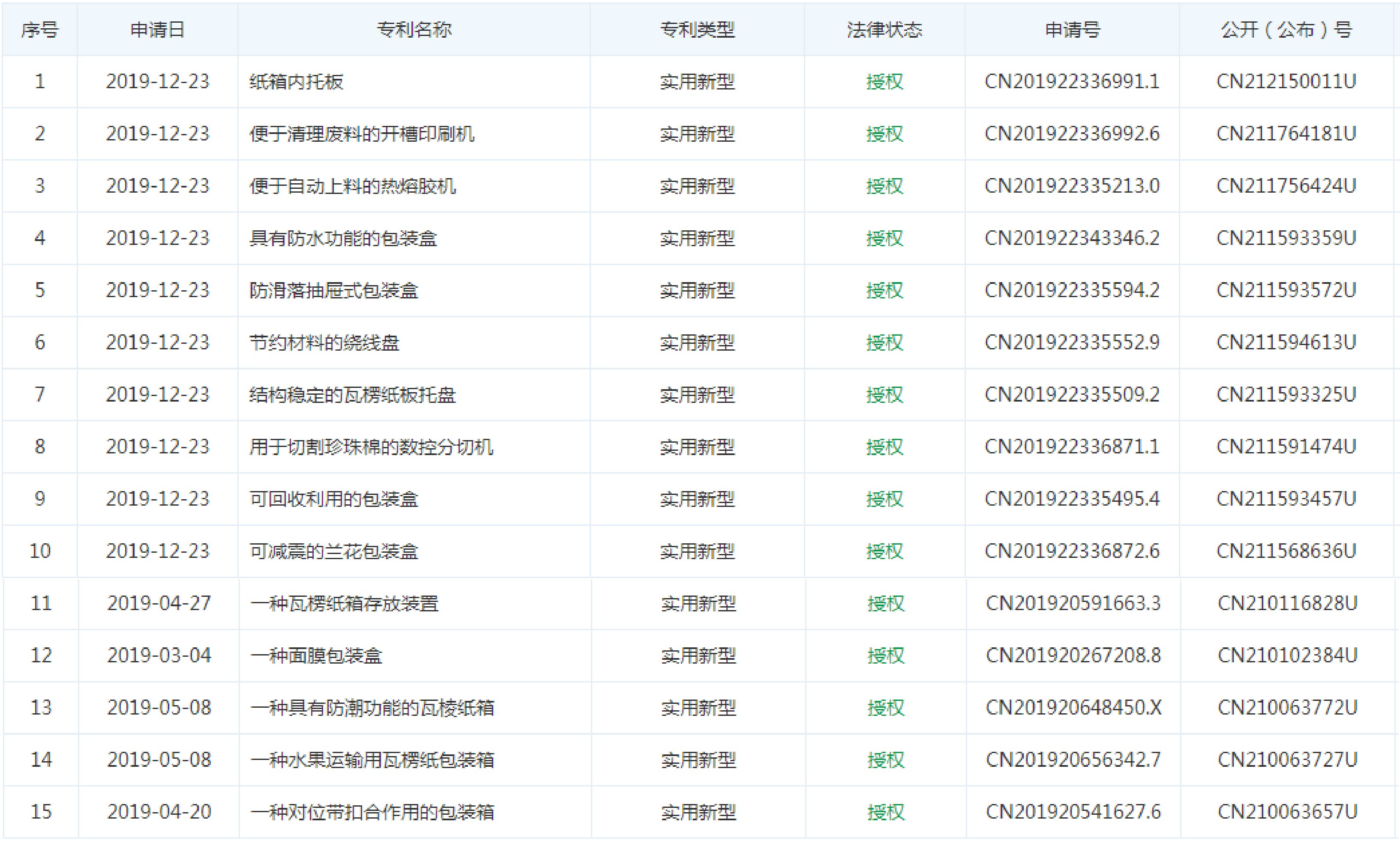
荣誉证书
HONOR
当前位置:网站首页 >> 荣誉证书
证
书
公司已通过十五项知识产权,下列为部分展示!